UNION (CPOS) TUBE 3/8 PI

(PC62CB-6)
Click to Enlarge
Specifications:
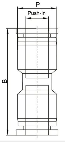
  • Push-In: 3/8"
  • B: 1.80
  • P: 0.70
  • Pkg: 5
1.56
Package Qty: 5
Price: $7.80
Call for Availability
Quantity:

Configure Your Cookies Settings


Functional (Non-Optional) Always Active
Performance
Advertising

Our website uses cookies for the functionality of the website. For more information on how we use our cookies, see our privacy policy.